• <strong><optgroup id="8sg7Sz"></optgroup></strong>

      1. <li id="8sg7Sz"></li>
        1. <small></small>

        2. plug torque test device of iec60065 figure 11

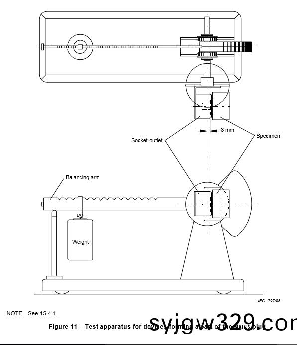
          Product Description:Name:plug torque test device of iec60065 figure 11Type:BND-CTLJStandards:BS1363.3,IEC60884,VDE0620,IEC60598,IEC60065 fig11ApplicationSocket-outlet Torque Balance Tester is used for test the torque strain exerted by the inputsocket-outlet and the devices with plug pins on output socketoutlets.The balancing arm of the test center lines of the contact tubes of the
          Description

          Product Description:

          Name:plug torque test device of iec60065 figure 11

          Type:BND-CTLJ

          Standards:BS1363.3,IEC60884,VDE0620,IEC60598,IEC60065 fig11


          Application

          Socket-outlet Torque Balance Tester is used for test the torque strain exerted by the input

          socket-outlet and the devices with plug pins on output socketoutlets.

          The balancing arm of the test center lines of the contact tubes of the

          socket-outlet at a distance of 8 mm behind the engagement face of the socket-outlet.

          With the engagement,the balancing arm is in equilibrium, the engagement face of the

          socket-outlet being in the vertical position.

          After the device has been engaged,the torque to be applied to the socket-outlet to maintain its engagement face in the vertical plane is determined by the position of a weight on the balance arm.

          Due to the different standards of different countries,the device are contained three socket clamps,If the needed clamps are more than 3 ,on request.

          In addition ,it includes a 5N weight and a 1N weight


          Type:

          weight

          2.5N*1, 1N*1

          Plug

          UL plug*1, European plug*1,all-purpose plug*1

          Conforms to standard

          IEC60884,VDE0620,IEC60598,IEC60065Fig11

          Arm of force

          0-200mm

          The distance from the contact surface and the Axis of the surface

          8mm


          2.jpg

          1.jpg

          3.jpg


          gtTRAjavascript:void();

        3. <strong><optgroup id="8sg7Sz"></optgroup></strong>

            1. <li id="8sg7Sz"></li>
              1. <small></small>